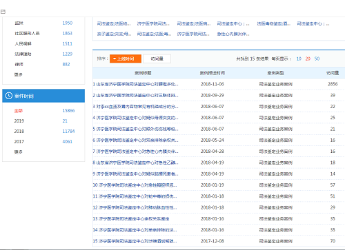
截止目前,2018年度中心有15篇优秀鉴定文书入选中国法律服务网(12348中国法网)司法行政(法律服务)案例库。其中,2018年11月6日报送的《对腰椎多处横突骨折的伤残等级的法医临床鉴定案》访问量达2857。2018年度山东省入选案例105篇(全国同期最多),我中心入选案例占14%,为山东的司法鉴定事业做出了自己的贡献。
2018年以来,司法部加大行政案例库建设,以案例释法,将司法行政案例加以总结,归纳分类,然后运用互联网向社会推出,帮助老百姓解决遇到的相关法律问题,司法鉴定文书筛选入库是案例库建设的一项重要内容。
优质的司法鉴定文书对于事实认定、案件审理等起着不可忽视的作用,中心非常重视司法鉴定文书质量,要求严格按照《司法部关于印发司法鉴定文书格式的通知》(司发通[2016]112号文件)文件撰写,仔细分析案情,秉承“依法、独立、客观、公正”的原则,出具司法鉴定文书。省市司法行政部门和同行的支持是中心的快速发展动力,我们将再接再厉,做好经典案例编制和推广工作,为山东司法鉴定发展贡献济医力量!



